Область применения
Экранированный адаптер предназначен для подключения кабелей на среднее напряжение с пластмассовой изоляцией и экструдированным, графитовым или легко удаляемым полупроводящим слоем, или EPR кабелей.
Для получения информации о подключении кабелей прочих типов свяжитесь с представителем нашей компании.
Техническое описание
- Толстый токопроводящий корпус из EPDM.
- При необходимости, возможна поставка экранированных адаптеров с металлическим корпусом.
- Возможность применения в разных сферах, благодаря использованию новых материалов.
- Каждый разъемный экранированный адаптер подвергается испытаниям на длительное воздействие номинального переменного напряжения и на отсутствие частичных разрядов.
Конструкция
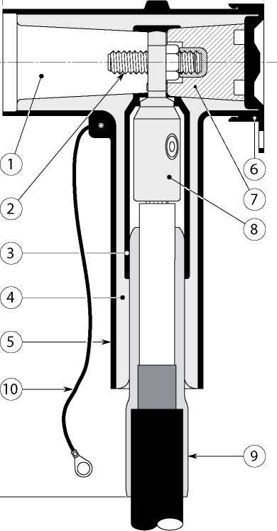
- Сочленяемая часть для подключения типа С. 630 А — соответствует CENELEC EN 50180 и 50181.
- Контактный винт
- Токопроводящая часть из EPDM
- Изолирующий слой из EPDM
- Токопроводящий корпус из EPDM
- Крышка
- Резьбовая изолирующая заглушка (точка контроля напряжения в качестве опции, стандартное исполнение 30 кВ)
- Винтовой кабельный наконеч- никили кабельный наконечник под опрессовку
- Кабельный адаптер
- Заземляющий проводник
Конструкция экранированного адаптера позволяет провести испытания оболочки кабеля без разборки адаптера.
Соответствие требованиям стандартов
| Тип разъемного экранированного адаптера | Номинальное напряжение Uo/U (кВ) | Номинальный рабочий ток In (А) | Сечение жилы (мм2)* | |
| мин. | макс. | |||
| 430ТВ | 6/10 | 630/1250* | 25 | 300 |
| К430ТВ | 12/20 | 630/1250* | 35 | 300 |
| М430ТВ | 18/30 | 630/1250* | 50 | 240 |
*Другие размеры – по запросу
Состав комплекта
Комплект компактного Т-образного экранированного адаптера (К)(М)430ТВ включает в себя три набора следующих компонентов:
В комплект также входят:
Инструкция по монтажу
Силиконовая смазка
Салфетки для очистки
Кабельный наконечник для экрана
| Сечение жилы (мм2) | Диаметр изоляции жилы (мм) | Номер комплекта изделия для разных сфер применения (К)(М)430ТВ | ||||
| мин. | макс. | С винтовым кабельным наконечником | ||||
|
Номинальное напряжение UO/U6/10KB |
||||||
| 25 | 13,0 | 15,2 | 430TB
52146 |
|||
| 35 | 14,1 | 16,3 | ||||
| 50 | 15,3 | 17,5 | ||||
| 70 | 17,0 | 19,2 | 430TB
51201 |
|||
| 95 | 17,6 | 20,8 | ||||
| 120 | 19,4 | 22,8 | 430TB
52147 |
430TB*
52148 |
||
| 150 | 20,9 | 24,3 | ||||
| 185 | 22,5 | 25,9 | ||||
| 240 | 25,0 | 28,4 | ||||
| 300 | 27,7 | 30,4 | ||||
|
Номинальное напряжение Uo/U 12/20 кВ |
||||||
| 35 | 18,3 | 20,5 | К430TB
52149 |
|||
| 50 | 19,5 | 21,7 | К430TB
52150
|
|||
| 70 | 21,2 | 23,4 | ||||
| 95 | 22,8 | 25,0 | К430TB
49557 |
|||
| 120 | 23,6 | 27,0 | К430TB*
52151 |
|||
| 150 | 25,1 | 28,5 | ||||
| 185 | 26,7 | 30,1 | ||||
| 240 | 29,2 | 32,6 | ||||
| 300 | 31,2 | 34,6 | ||||
| Номинальное напряжение Uo/U 12/20 кВ | ||||||
| 50 | 23,8 | 26,7 | M430TB
52940 |
|||
| 70 | 25,5 | 28,4 | ||||
| 95 | 27,1 | 30,0 | ||||
| 120 | 28,6 | 32,0 | M430TB
52940 |
|||
| 150 | 30,1 | 33,5 | ||||
| 185 | 31,7 | 35,1 | ||||
| 240 | 34,2 | 37,6 | ||||

Reviews
There are no reviews yet.